
固定式飛灰取樣裝置↑移動式飛灰取樣器↑飛灰取樣器↑飛灰取樣裝置↑飛灰等速取樣器↑自吸式飛灰等速取樣器↑旋流式飛灰等速取樣器↑便攜式飛灰取樣器↑等速飛灰取樣器↑全自動飛灰取樣器↑新型飛灰取樣器等規格型號都有,我們將給你低的出廠價,大量批發,價格更優惠。
訂貨提示:
該產品屬于非標產品,規格品種多,需要根據客戶提供的參數或要求定制,您可將產品的技術參數傳真:0518-85372403或發郵件809827864@qq.com咨詢電話:0518-85372405 聯系人:孫經理 13861430261。
![]() |
![]() |
固定式飛灰取樣裝置安裝現場 | 飛灰取樣器|固定式飛灰取樣裝置 |
![]() |
![]() |
便攜式飛灰取樣器 | 固定式飛灰取樣器|新型飛灰取樣裝置 |
一、固定式飛灰取樣裝置概述
固定式飛灰取樣裝置,主要用于電廠(站)鍋爐尾部煙氣飛灰的等速連續取樣,使飛灰含碳量得到準確的檢測,為鍋爐熱效率的科學計算提供可靠依據。取樣真實可靠,是新一代飛灰取樣的設備。
本設計采用壓縮空氣為動力,用抽氣器抽吸使取樣器內產生負壓達到取樣目的。該裝置同時還具有反吹掃功能,避免取樣口堵塞問題的出現,易于取樣。等速取樣是通過調節壓縮空氣壓力、流量而得到控制,這樣使飛灰含碳量得到準確的檢測。
該裝置與國內同類型的產品不同的是,在壓縮空氣閥后加裝調壓閥。;因一般電廠提供的壓縮空氣的壓力在6~8Kg左右,單靠壓縮空氣閥來調節很難達到飛灰取樣裝置所需的工作壓力,往往因壓力過大或過小而取樣失真,沒有代表性。
二、固定式飛灰取樣裝置結構形式
固定式飛灰取樣裝置主要由下列幾部分組成:
1、取樣管——插入煙道中,取樣口朝向煤粉氣流來向,飛灰由此口進入取樣裝置。形式為多點取樣。
2、分離器——將飛灰和氣體分離,飛灰因重力作用被旋轉氣流甩到器壁,再靠重力作用,落入集粉器。分離后的氣體至上而下沿器壁下旋至底部,再沿中間路線上升至頂部,從頂部出氣口排出,實現固、氣的分離。
3、抽氣器——壓縮空氣進入抽氣器內通過氣流噴射,使取樣裝置內形成負壓。
4、取樣閥——取樣時,將此閥打開,靠壓縮空氣由出氣口排氣形成的負壓,抽吸分離器中的空氣,使煙道中的飛灰從取樣口進入取樣裝置,進行取樣。
5、吹掃閥——當需要清掃取樣管中的殘留飛灰時,關閉吹掃閥,打開取樣閥,迫使壓縮空氣進入分離器從取樣管進入煙道中,達到反吹掃功能。
6、調壓閥——調整此閥門的開度,可控制壓縮空氣的壓力流量和改變取樣裝置的取樣速度,使取樣器能達到等速取樣。
7、取樣瓶——將分離器分離出的飛灰樣品集中存放,供標定之用。
8、固定法蘭---將取樣裝置固定密封在煙道上。
三、固定式飛灰取樣裝置工作原理
固定式飛灰取樣裝置是利用負壓抽吸和旋風分離原理將飛灰從煙道道中吸出并進行固、氣分離而研制成功的。
飛灰取樣過程中,所有閥門為開啟狀態,當壓縮空氣從進氣管進入抽氣器時,在其射流作用下使整個取樣裝置內形成負壓,因分離器和其底部的集粉瓶是封閉連接,能與外部連通的唯一進口只有取樣管。所以負壓產生后促使煙道中的飛灰沿取樣管進入取樣裝置,飛灰在分離器中分離,并進入集粉瓶,而氣體及少許細粉從分離器的上部出口被壓縮空氣帶出,并重新送入煙氣管道中,對工作場所不產生污染。
增加吹掃閥的作用是:在取樣前和取樣后,關吹掃閥,開取樣閥又可以吹掃取樣管中的殘留,以防取樣管被飛灰堵塞。并保證取樣準確。
四、固定式飛灰取樣裝置操作程序
1、吹掃
取樣前要將取樣管吹掃干凈,防止堵塞取樣管。
①、開啟取樣閥11;關閉吹掃閥9;吹掃取樣管1~3分鐘,關閉所有閥門將取樣瓶中的灰清理干凈,將取樣瓶放回原處,注意取樣瓶口與分離器接口的密封。
2、取樣
取樣前所有閥門為關閉狀態,首先開啟壓縮空氣閥6;根據壓縮空氣調壓閥上的壓力表7顯示來調節壓縮空氣壓力,將壓縮空氣壓力調節到所需壓力范圍。(根據煙道中的負壓來調節)
在壓縮空氣壓力調節好的情況下,先開啟吹掃閥,過1-2分鐘再打開取樣閥,即開始取樣。取樣時間根據壓縮空氣的壓力大小來確定,一般3-5分鐘,取樣完成,取樣結束后關閉所有閥門,取下取樣瓶,將樣品取出;將取樣瓶方回原處,保證接口處的密封。
3、型號:FH-XXX 型號說明:FH:飛灰取樣裝置。XXX:煙道尺寸。
五、固定式飛灰取樣裝置后附簡圖:
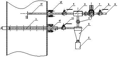
產品外形圖
1、取樣管2、取樣瓶3、分離器4、活接頭5、壓縮空氣接管6、壓縮空氣閥7、調壓閥8、射氣抽氣器9、吹掃閥10、射氣管11、取樣閥
安裝示意圖
1、取樣管2、取樣瓶3、分離器4、活接頭5、壓縮空氣接管6、壓縮空氣閥7、調壓閥8、抽氣器9、吹掃閥10、射氣管11、取樣閥12、安裝固定法蘭
六、固定式飛灰取樣裝置安裝說明:
1、在煙道上鉆孔,將取樣管伸入煙道里,使取樣頭朝向煙氣來流方向。
2、將密封法蘭與煙道焊接,并與取樣管確保密封。
3、該裝置一般裝于空氣預熱器的煙道上,若煙道寬度大于2m時,應在煙道上對稱安裝2臺取樣器,若寬度小于2m時,只安裝1臺取樣器。
4、安裝時抽氣器上的箭頭和調節閥底部的箭頭必須順著氣流方向裝,否則達不到取樣效果。