
自吸式煤粉取樣器■自吸式煤粉取樣裝置■煤粉取樣器■煤粉取樣裝置■全自動煤粉取樣器■固定推進式煤粉取樣器■固定伸縮式煤粉取樣器■隱臂式煤粉取樣裝置■移動式等速煤粉取樣器等規格型號都有,我們將給你低的出廠價,大量批發,價格更優惠。
訂貨提示:
該產品屬于非標產品,規格品種多,需要根據客戶提供的參數或要求定制,您可將產品的技術參數傳真:0518-85372403或發郵件809827864@qq.com咨詢電話:0518-85372405 聯系人:孫經理 13861430261。
一、自吸式煤粉取樣器定義:
自吸式煤粉取樣器用于直吹式制粉系統一次風煤粉管道上定期煤粉取樣,在1000MW、600MW及以下機組中都有廣泛應用。采用壓縮空氣吹掃和用抽氣器抽吸取樣,避免了取樣口堵塞問題的出現,且易于取樣。取樣的速度通過控制壓制空氣壓力而得到控制。這樣可以得到較準確的、具有代表性的、等速的煤粉細度值。
電站燃煤鍋爐煤粉細度的準確控制和分析,對鍋爐機組的安全經濟運行有著非常重要的意義。目前,大機組應用正壓直吹式制粉系統日益增多,由于磨煤機出口的煤粉直接由一次風正壓送入爐膛燃燒,日常煤粉取樣非常困難。一般多采用自噴的方法,取樣準確度差,且取樣時常難以較好密封,存在煤粉泄漏現象,工作環境很差,勞動強度大。宏慶集二十年的氣固兩相流理論試驗和工程應用研究經驗,最新開發的專利產品自吸式煤粉取樣器可方便地實現正壓直吹式制粉系統的煤粉等速取樣,其特點是多點同時等速取樣,使得所取粉樣具有良好的代表性,多次取樣重復性好,操作簡單,且無煤粉泄漏,大大改善了工作環境,并減輕了勞動強度,是目前國際上電站鍋爐正壓直吹式制粉系統日常煤粉細度分析取樣理想的裝置。
二、自吸式煤粉取樣器工作原理:
1、自吸式煤粉取樣器運用反吹射流原理,抽氣速率可任意調整。適用于開口為2英寸絲堵的磨煤機,煤粉流速為18~50M/S、溫度為75~95℃、壓力0.8 MPa以上、流量為每小時20立方米以上的壓縮空氣,取樣同時在圓面積上將四只樣品一次完成,通過旋轉裝置的調整保證了樣品的同步精度,由四通分配器控制取樣口煤粉活絡接頭、閥門大小,來控制管道煤粉外噴現象,對操作人員的安全提供了保證。
2、等圓環面積取樣,取樣槍推進煤粉管道時,貫穿整個直徑,根據等速煤粉取樣器示意圖等圓環面積算法,離管壁越近煤粉通過量就越大,停留時間要長。離管中心近煤粉氣流量小,停留時間縮短,管心煤粉氣流量可視為0。實踐證明煤粉取樣按等圓環面積法,所取樣的樣品具有代表性。如圖所示
3、等速煤粉取樣,為了正確測得氣固兩相流的濃度,并且使抽取的固體顆粒樣品具有代表性,對于氣-固兩相流的直接取樣必須在等速的條件下進行。所謂等速取樣,即讓進入取樣探頭進口的吸入速度與探頭周圍的來流速度相等,當流速不一致時,可調整抽氣器抽壓力,使取樣槍內始終在等速狀態取樣。
三、自吸式煤粉取樣器特點:
1、取樣的速度通過控制壓縮空氣壓力而得到控制。這樣可以得到較準確的、具有代表性的、等速的煤粉細度值
2、獨特的防漏接口,無跑冒粉現象。
3、采用壓縮空氣吹掃及不銹鋼材料制造,不堵塞,不腐蝕,可露天布置。
4、固定安裝于煤粉管道上,操作進退方便。
5、取樣槍可隱退于保護管內而置于煤粉氣流之外,磨損小,壽命長。
6、1人操作,2分鐘采樣, 隨時、快捷、工作輕松。
四、自吸式煤粉取樣器主要技術參數:
1、取樣槍¢25mm平頭取樣槍,取樣孔¢8mm。
2、管道內氣流速度:15-30m/s。
3、壓縮空氣壓力:0.3-0.4Mpa。
4、取樣時間:2-3min/次。
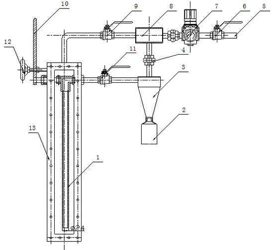
五、自吸式煤粉取樣器安裝:
1、安裝見圖例,現場需提供壓縮空氣。
2、安裝位置:安裝于煤粉管道的垂直段。
3、開孔:在煤粉管上開兩個平行的安裝孔。
4、根據煤粉管道通徑確定固定管長短及取樣槍行程。
5、焊接好固定管,保證取樣槍進出順利。
6、連接好各管接口,保證無漏氣處。
六、自吸式煤粉取樣器操作運行:
1、根據現場需要,可以隨時進行取樣。
2、打開進氣閥,調節好氣壓。
3、再打開取樣控制閥,將取樣槍頭推進到煤粉管道內。
4、打開取樣閥2-3min后再關閉取樣閥及下部控制閥。
5、旋下取樣瓶,取出取樣煤粉(如取樣量少可再重新取樣)。
6、如不再取樣請退后取樣槍,使取樣槍退到煤粉管道外。
七、自吸式煤粉取樣器訂貨須知:
提供煤粉管道管徑,以便設計取樣槍長度。